[ Новые сообщения · Участники · Правила форума · Поиск · RSS ]
 
Работай из дома! 18+

  • Страница 1 из 1
  • 1
Лабораторная работа №2 Измерение модуля упругости резины
HillaryДата: Четверг, 21.12.2017, 11:29 | Сообщение # 1
Полковник
Группа: Проверенные
Сообщений: 231
Награды: 0
Репутация: 0
Статус: Offline


 
Работай из дома! 18+
 
 


Лабораторная работа №2 «Измерение модуля упругости (модуля Юнга) резины»



«Физика. 10 класс» Г. Я Мякишев, Б. Б. Буховцев. ФИПИ. ФГОС. Школа России. 21 век.

Презентация на тему: Лабораторная работа №2 «Измерение модуля упругости (модуля Юнга) резины»

ГДЗ и решебник по предмету Физике. Лабораторные работы по Физике с ответами можно бесплатно скачать к себе на компьютер, телефон, планшетник или смартфон в любом формате. Потом в свое свободное время можно решать задачи онлайн или офлайн. А также проверить сразу решения и правильные ответы на задания лабораторной работы. Ответы, вывод, пояснения и решение на лабораторную работу смотрите ниже. Таблица и описание опыта можно прочитать или посмотреть по видео.



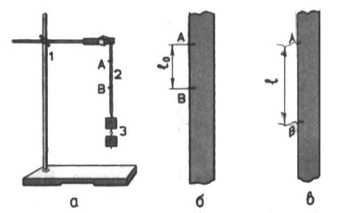
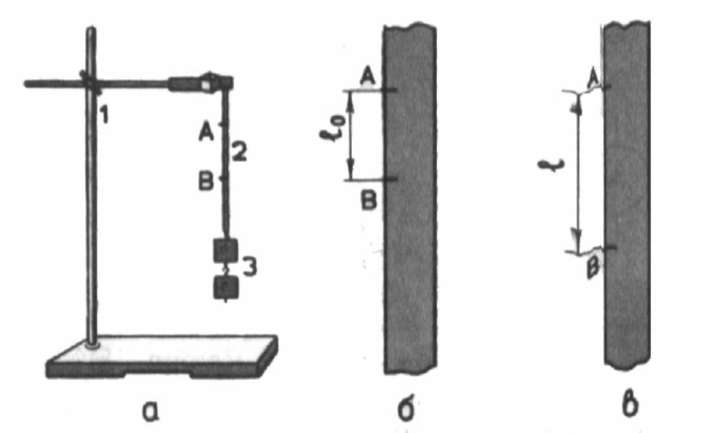
Цель работы: научиться находить модуль упругости резины. Установка для измерения модуля Юнга резины показана на рисунке а.



Модуль Юнга вычисляется по формуле полученной из закона

Гука: где Е - модуль Юнга; Р - сила упругости,

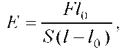
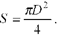
возникающая в растянутом шнуре и равная весу прикрепленных к шнуру грузов; § - площадь поперечного сечения деформированного шнура; 10 - расстояние между метками А и В на растянутом шнуре (рис. б); I - расстояние между этими же метками на растянутом шнуре (рис. в). Если поперечное сечение имеет форму круга, то площадь сечения выражается через диаметр

шнура:

Окончательная формула для определения модуля Юнга имеет

вид:

Пример выполнения:



Вес грузов определяется динамометром, диаметр шнура -штангенциркулем, расстояние между метками А и В - линейкой. Для заполнения таблицы проведем следующие вычисления: 1) Аи1 - абсолютная инструментальная погрешность Аи1 = 0,001 А0/ - абсолютная погрешность отсчета А01 = 0,0005 А1 - максимальная абсолютная погрешность А1 = А и I+ А 01 = 0,0015 2) АиО = 0,00005 А0О = 0,00005 АО = А и В + А 0 В = 0,0001 3) АиР = 0,05 А0Р = 0,05 АР = А и Р + А 0 Р = 0,05 + 0,05 = 0,1



Вывод: полученный результат модуля упругости резины совпадает с табличным.

Видео. Лабораторная работа №2 «Измерение модуля упругости (модуля Юнга) резины»





Смотрите еще лабораторные работы из 10 класса:


Лабораторная работа №1 «Опытная проверка закона Гей-Люссака»

Лабораторная работа №2 «Измерение модуля упругости (модуля Юнга) резины»

Лабораторная работа №3 «Измерение ЭДС и внутреннего сопротивления источника тока»

Лабораторная работа №4 «Измерение удельного сопротивления проводника»

Лабораторная работа №5 «Изучение последовательного и параллельного соединения проводов»

Лабораторная работа №6 «Наблюдение действия магнитного поля на ток»

Лабораторная работа №7 «Определение заряда электрона»

Фото: 9387198.jpg (14.2 Kb) · 8823710.png (1.0 Kb) · 5853551.png (0.8 Kb) · 0702860.png (1.1 Kb) · 9949193.png (4.1 Kb) · 8030249.png (8.7 Kb)
 
 
  • Страница 1 из 1
  • 1
Поиск:

Работай из дома! 18+
 
 
 
 
 
 

 
Последние темы на форуме:
 
  • Новогодние праздники 2021-2022 официальные выходные
  • Показатели давления и сердцебиения у женщины 57 лет
  • Гороскоп на декабрь 2021 Женщина Телец
  • Гороскоп на январь 2022 от Павла Глоба
  • Гороскоп на декабрь 2021 от Павла Глоба
  • Гороскоп на ноябрь 2021 от Павла Глоба
  • Стенограмма судьбы - Содержание серий, актеры и роли сериала
  • Мосгаз. Западня - Содержание серий, актеры и роли 2021
  • Тобол - Содержание серий, актеры и роли сериала. 2021
  • Гороскоп для Тигра на сегодня от Павла Глоба
  • Утраченные воспоминания - Содержание серий, актеры и роли
  • Чёрно-белая любовь - Содержание серий, актеры и роли сериала
  • Забытая женщина - Содержание серий, актеры и роли сериала
  • Тайна спящей дамы - Содержание серий, актеры и роли сериала
  • Сериал Часы с кукушкой - Содержание серий, актеры и роли
  •  
     

     
    Обращаем ваше внимание на то, что данный интернет-сайт www.kinolog.do.am носит исключительно информационный характер и ни при каких условиях не является публичной офертой, определяемой положениями Статьи 437 (2) Гражданского кодекса РФ. Цена и наличие товара может отличаться от действительной. Пожалуйста, уточняйте цены и наличие товара у наших менеджеров.
    Администрация сайта не несет ответственности за действия и содержание размещаемой информации пользователей: комментарии, материалы, сообщения и темы на форуме, публикации, объявления и т.д.
    Правообладателям | Реклама | Учебники | Политика
    Отопление, водоснабжение, газоснабжение, канализация © 2003 - 2021
    Рейтинг@Mail.ru Рейтинг арматурных сайтов. ARMTORG.RU Яндекс.Метрика